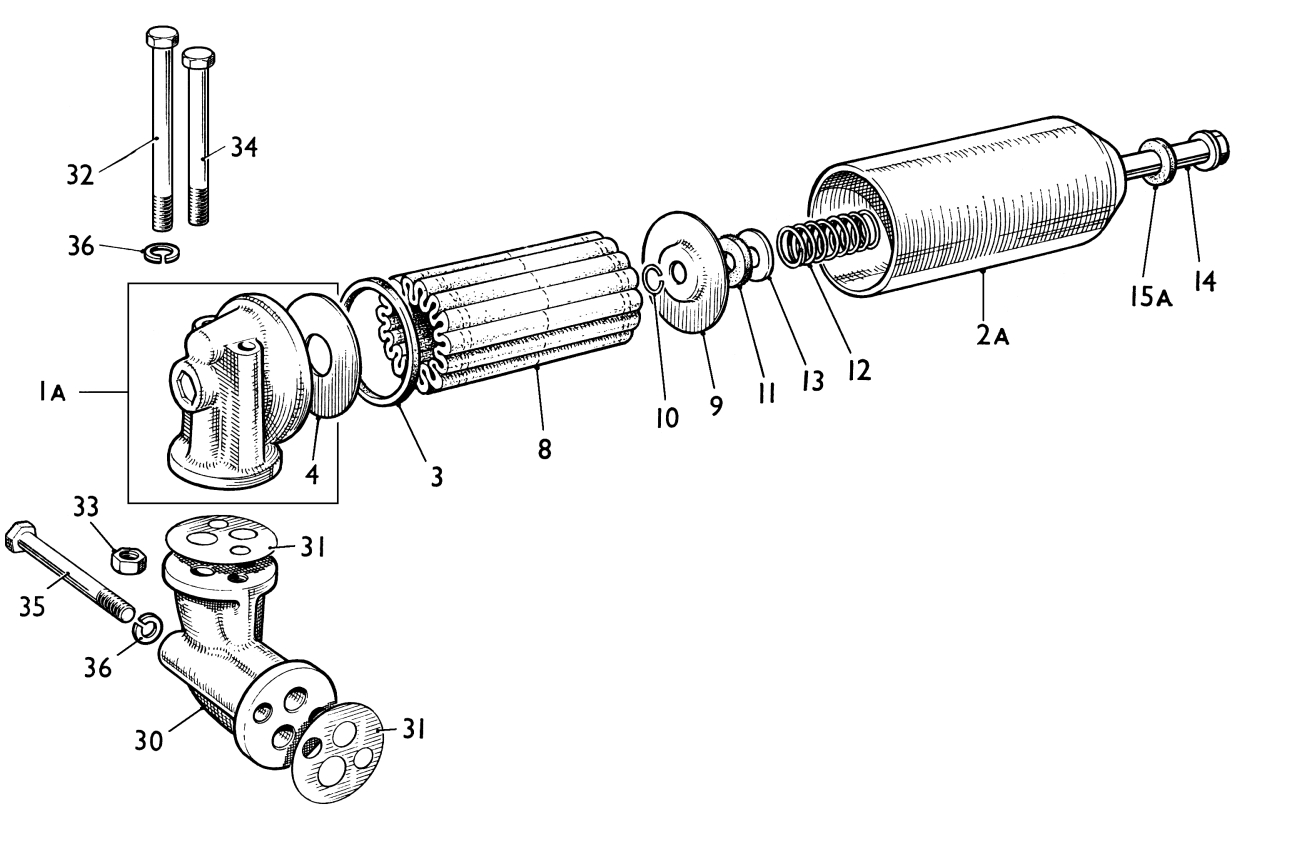
MA10 - Oil Filter (External)
(Click on the image below to open a larger version in a new window)
| Description | Part No. | Illus. No. | Qty. | Change Point | Remarks |
|---|---|---|---|---|---|
| OIL FILTER (EXTERNAL) | |||||
| Filter - oil (Tecalemit) | NSP | 1 | (E) 29F/H2269 on | Alternative to Purolator | |
| Head assembly | 17H 2873 | 1A | 1 | (E) 29F/H2269 on | |
| Plate - element clamp | 7H 147 | 4 | 1 | (E) 29F/H2269 on | |
| Sump | 17H 3529 | 2A | 1 | (E) 29F/H2269 on | |
| Seal - sump to head | 13H 998 | 3 | 1 | (E) 29F/H2269 on | Part No. change; was 17H 4 |
| Element | 48G 171 | 8 | 1 | (E) 29F/H2269 on | |
| Plate - pressure | 17H 942 | 9 | 1 | (E) 29F/H2269 on | |
| Circlip - plate to centre bolt | 17H 2877 | 10 | 1 | (E) 29F/H2269 on | |
| Washer (felt) | 7H 1758 | 11 | 1 | (E) 29F/H2269 on | |
| Spring - pressure plate | 7H 1764 | 12 | 1 | (E) 29F/H2269 on | |
| Washer | 7H 1765 | 13 | 1 | (E) 29F/H2269 on | |
| Bolt - centre | 17H 3530 | 14 | 1 | (E) 29F/H2269 on | |
| Seal - bolt to sump | 37H 1173 | 15A | 1 | (E) 29F/H2269 on | |
| Plate - adaptor | AEC 675 | 30 | 1 | ||
| Joint - plate to crankcase | 1B 1233 | 31 | 1 | ||
| Joint - filter to plate | 1B 1233 | 31 | 1 | ||
| Bolt - filter to plate | HBZ 0636 | 32 | 1 | ||
| Nut - bolt | FNZ 106 | 33 | 1 | ||
| Screw - filter to plate | HCN 0631 | 34 | 1 | ||
| Bolt - plate to crankcase | HBZ 0632 | 35 | 2 | ||
| Washer - spring - bolt | LWZ 206 | 36 | 4 |
